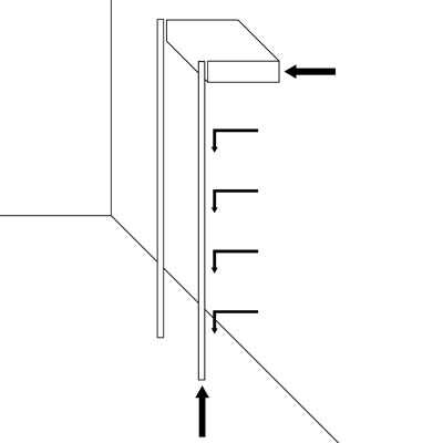
Das L-Regal lehnt an der Wand.
Das Regalsystem besteht aus gekanteten Stäben,
in die von hinten Elemente eingehängt werden.
Direkt vor der Wand steht kein Stab. Der oberste Boden ist etwas tiefer, sodass die anderen Elemente einen Abstand zur Wand halten und flexibel getauscht werden können.
Vorteile:
- schneller Zusammenbau ohne Werkzeug
- variabel erweiterbares System
- keine Löcher in den Wänden
- Fußleisten und Vorsprünge können überbaut werden
"L" wie Lehnen,
"L" wie der Winkel,
"L" wie der Haken,
"L" wie die Kantung.